FOUR-SIDED PLANED BOARD 28X145 CLASS AB SCANDINAVIAN SPRUCE
Za sztukę
BOAZERIA STS4 15x120KLASA AXIS WHITE
Za sztukę
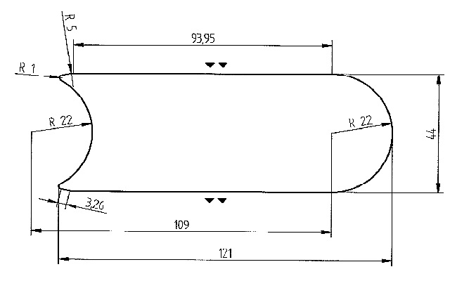
BLOCK SPECIAL 44X121 CLASS ABC SCANDINAVIAN SPRUCE
Dostępność w magazynach
Za sztukę
Raw material: Scandinavian spruce
Moisture content: 16-18% +- 2% (general construction)
- Opis
- Informacje dodatkowe
- Zapytaj o produkt







